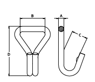
Gancho Tipo “J” para cintas têxteis

Acessório utilizado, juntamente com cintas têxteis,com ampla aplicação em amarações e movimentações de carga.

Estampado em aço maleável acabamento bicromatizado.

VEJA OUTROS PRODUTOS
PCH-THK
Pega Chapas Horizontal - Alça Fixa - PCH-THKS
Trava de segurança para gancho giratório grau 8 – Kit 8-T-GOGE – Agropeças Souza
Trava de segurança - Kit para gancho Giratório grau 8 - 8-T-GOGE
8-T-GST
Trava de Segurança - Kit para gancho soldável - grau 8 - 8 -T- GST
Gancho de olhal giratório em aço alloy grau 8 – 8-GOGE – Agropeças Souza
Gancho de Olhal Giratório - 8-GOGE-Agropeças Souza
Gancho de olhal giratório em aço alloy grau 8 – 8-GOGE – Agropeças Souza
Gancho de olhal Giratório - Aço alloy grau 8 - 8-GOG - Agropeças Souza
Trava de segurança para gancho giratório grau 8 – Kit 8-T-GOGE – Agropeças Souza
Trava de segurança - Kit para gancho Giratório grau 8 - 8-T-GOG

Você tem a necessidade? Nós temos a solução